网络正规PM娱乐城

products

产品中心

产品类别

Category

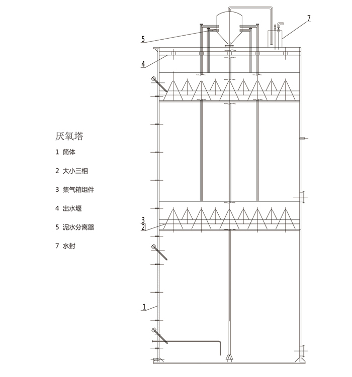
厌氧塔

厌氧塔为水处理关键设备,本公司依托控股公司江苏开磷新材料产业研究设计有限公司已成功设计制造安装多套污水处理装置。

扫一扫

浏览我司移动平台

江苏鑫科天建化工设备制造有限公司 版权所有(C)2024 网络支持 著作权声明 网站地图

朗驰娱乐正规信誉(官方)网站/网页版登录入口/手机版登录入口-最新版(已更新) 盛凯国际外围正规导航(官方)网站/网页版登录入口/手机版登录入口-最新版(已更新) 雷火竞技外围最新(官方)网站/网页版登录入口/手机版登录入口-最新版(已更新) PM娱乐城线上足球大全(官方)网站/网页版登录入口/手机版登录入口-最新版(已更新) 盛凯国际最新体育(官方)网站/网页版登录入口/手机版登录入口-最新版(已更新) 雷火竞技真人权威(官方)网站/网页版登录入口/手机版登录入口-最新版(已更新) boyu·博鱼最大知名排名(官方)网站/网页版登录入口/手机版登录入口-最新版(已更新) 网上最新188BET盘口(官方)网站/网页版登录入口/手机版登录入口-最新版(已更新)